SMAW指的是手工電弧焊-云南特種設備焊工考試報名
時間:2021-08-08關注:
SMAW指的是手工電弧焊-云南特種設備焊工考試報名
焊接的SMAW:指手工電弧焊,是利用手工操縱焊條進行焊接的電弧焊方法,簡稱手弧焊。
手弧焊是以焊條和焊件作為兩個電極,被焊金屬稱為焊件或母材。焊接時因電弧的高溫和吹力作用使焊件局部熔化。在被焊金屬上形成一個橢圓形充滿液體金屬的凹坑,這個凹坑稱為熔池。隨著焊條的移動熔池冷卻凝固后形成焊縫。焊縫表面覆蓋的一層渣殼稱為熔渣。焊條熔化末端到熔池表面的距離稱為電弧長度。從焊件表面至熔池底部距離稱為熔透深度。

電弧焊,是指以電弧作為熱源,利用空氣放電的物理現象,將電能轉換為焊接所需的熱能和機械能,從而達到連接金屬的目的。主要方法有焊條電弧焊、埋弧焊、氣體保護焊等,它是目前應用最廣泛、最重要的熔焊方法,占焊接生產總量的60%以上。
焊條電弧焊是工業生產中應用最廣泛的焊接方法,它的原理是利用電弧放電(俗稱電弧燃燒)所產生的熱量將焊條與工件互相熔化并在冷凝后形成焊縫,從而獲得牢固接頭的焊接過程。
焊條電弧焊是用手工操縱焊條進行焊接工作的,可以進行平焊、立焊、橫焊和仰焊等多位置焊接。另外由于焊條電弧焊設備輕便,搬運靈活,所以說,焊條電弧焊可以在任何有電源的地方進行焊接作業。適用于各種金屬材料、各種厚度、各種結構形狀的焊接。
焊條電弧焊的安全特點:焊條電弧焊焊接設備的空載電壓一般為50V-90V ,而人體所能承受的安全電壓為30V-45V,由此可見,手工電弧焊焊接設備,會對人造成生命危險,施焊時,必須穿戴好勞保用品。
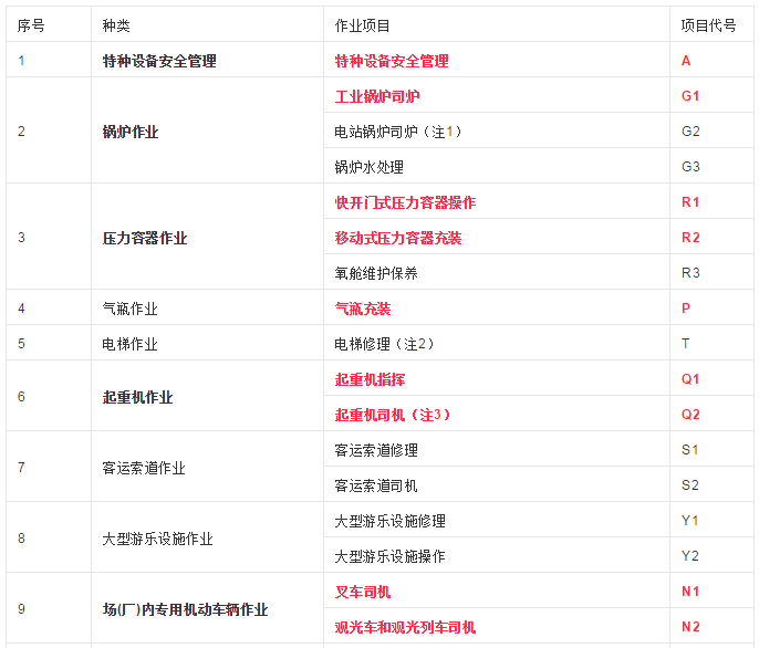
考試工種:

注1:資格認定范圍為300MW以下(不含300MW)的電站鍋爐司爐人員,300MW電站鍋爐司爐人員由使用單位按照電力行業規范自行進行技能培訓。
注2:電梯修理作業項目包括修理和維護保養作業。
注3:可根據報考人員的申請需求進行范圍限制,具體明確限制為:橋式起重機司機、門式起重機司機、塔式起重機司機、門座式起重機司機、纜索式起重機司機、流動式起重機司機、升降機司機。如“起重機司機(限橋門式起重機)”等。
注4:特種設備焊接作業人員代號按照《特種設備焊接操作人員考核規則》的規定執行。
六、報名特種設備作業人員證需要資料:
1、特種設備作業人員申請表2份
2、身份證復印件2份
3、畢業證復印件2份
4、兩寸白底照片6張
5、體檢表1份





